Low-Power Long-Range Wireless Technologies for Wireless Sensor Networks in the Internet of Things
Contributed By DigiKey's European Editors
2017-01-19
Low-power wide area networks have been around for many years, but the demand for low cost connectivity for the Internet of Things (IoT) and the improvement in power consumption and cost is driving more interest. Improvements in silicon technology have lowered power consumption to where it has become viable for battery-powered wireless sensor nodes. These take advantage of sub-GHz unregulated radio bands for long-range connections that can be more cost effective than the regulated cellular bands.
However, these LPWAN networks require their own infrastructure to be rolled out, which up until now has been slow. However, this has now reached a turning point. Using the sub-GHz band means less base stations are required to support a large number of wireless nodes.
There are different options for developers of IoT networks. Technology such as LoRa from Semtech can be used to roll out a dedicated private LPWAN network for a group of wireless nodes. Or a public LPWAN network such as SIGFOX can be used to avoid the need to install, connect and manage the base stations. Other LPWAN networks are also being developed with new protocols such as Weightless. The choice of LPWAN network determines the choice of wireless transceiver for the IoT node.
LoRaWAN is a Low Power Wide Area Network (LPWAN) specification intended for wireless battery-powered nodes in regional, national or global networks. A LoRaWAN network typically uses a star-of-stars topology in which gateways are a transparent bridge relaying messages between end devices and a central network server in the backend. Gateways are connected to the network server via standard IP connections, while end devices use single-hop wireless communication to one or many gateways. Communication with the nodes is generally bi-directional, but the architecture also supports operations such as multicast enabling software upgrade over the air, or other mass distribution messages to reduce the on-air communication time.

Figure 1: The LoRaWAN network has an encrypted route from the IoT node to the gateway.
The communication between nodes and gateways is spread out on different frequency channels and data rates using spread spectrum links. This creates a set of "virtual" channels with data rates from 0.3 kbps to 50 kbps. The network server manages the data rate and RF output for each node individually using an adaptive data rate (ADR) scheme.
LoRaWAN has several different classes of node. With the lowest power, class A approach, an uplink transmission is followed by two short downlink receive windows. The transmission slot scheduled by the node is based on its own communication needs with a small variation based on a random time basis using an ALOHA protocol. Downlink communications from the server at any other time will have to wait until the next scheduled uplink.
Class B provides extra scheduled receive slots using a time-synchronized beacon from the gateway. This allows the server to know when the node is listening. Class C nodes have open receive windows that are only closed while transmitting.
These nodes can be built with the SX1272/73 transceivers from Semtech. These implement a long-range modem using a spread spectrum protocol that also provides high interference immunity whilst minimizing current consumption.
The patented modulation achieves a sensitivity of over -137 dBm using a low-cost crystal and bill of materials. Combined with the integrated +20 dBm power amplifier, this provides a link budget of up to 157 dB that provides significant advantages in both blocking and selectivity over conventional modulation techniques such as FSK and OOK. Using the spread spectrum approach avoids the traditional design compromise between range, interference immunity and energy consumption, but the devices also support high-performance FSK and GFSK modulation for other systems including WMBus and IEEE802.15.4g.
Figure 2: The SX1272 can be used to build a node for the LoRaWAN low-power long-range network.
The SX1272 offers three channel width options of 125 kHz, 250 kHz, and 500 kHz with spreading factors ranging from 6 to 12. The SX1273 offers the same bandwidth options with spreading factors from 6 to 9. For maximum flexibility the user may decide on the spread spectrum modulation bandwidth (BW), spreading factor (SF) and error correction rate (CR).
An alternative LPWAN network is operated by French network operator SIGFOX and its partners.
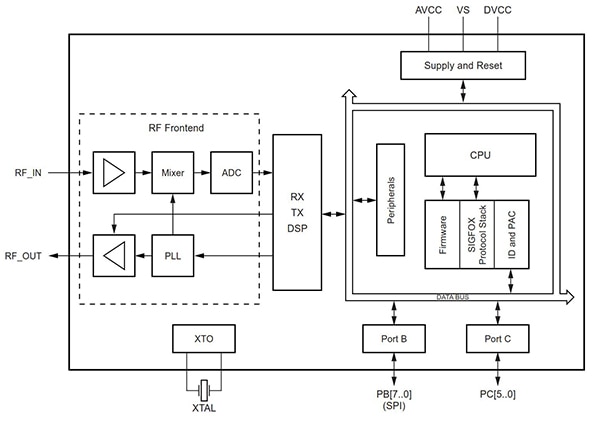
There are several devices that can be used to implement a node. The ATA8520D from Microchip, for example, is a highly integrated, low-power RF transceiver with an integrated AVR microcontroller. The device is partitioned into three sections: an RF front end, a digital baseband and the low-power 8-bit AVR microcontroller that provides connections in the 868.0 MHz to 868.6 MHz and 869.4 to 869.65 MHz bands. An SPI interface enables external control and device configuration.

Figure 3: The ATA8520 uses an SPI interface to link a sensor node to the SIGFOX long-range network.
Similarly, the AX−SIGFOX development kit from ON Semiconductor is an ultra-low-power single-chip solution for a node on the SIGFOX network with both up−link and down−link functionality. The AX−SIGFOX chip is delivered fully ready for operation and contains all the necessary firmware to transmit and receive data from European networks.
The connection to the node is via a simple RS232 UART, and AT commands are used to send frames and configure radio parameters. The development kit includes a fully functional AX−SIGFOX module, including a subscription to use the network.
The transceiver is packaged in a 5 mm x 7 mm QFN40 that provides 10 GPIO pins, four of which have selectable voltage measure functionality. These can have differential input with a 1 V or 10 V range, or a single ended input with a 1 V range, and both have a 10-bit resolution. Two of the pins have selectable sigma-delta DAC output functionality to link to sensors in the node. Three of the GPIO pins are also selectable as an SPI master interface to control other devices in the node.

Figure 4: The AX-SIGFOX transceiver has flexible GPIO pins for wireless sensor nodes on a SIGFOX network.
One of the advantages of the SIGFOX network is that the data can be managed in the cloud, and the company has teamed up with Microsoft to link to the Azure cloud storage and data management tools for large data deployments.
Weightless-P is a newer protocol that has just been certified by the ETSI European standards group for IoT developers to build their own LPWAN networks. The protocol can operate across all the sub-GHz bands, but can also be used in the regulated cellular bands. It uses 12.5 kHz channels with flexible channel assignment to allow for frequency reuse in large scale deployments, and adaptive data rates from 200 bps to 100 kbps that maximize the network capacity. This uses time-synchronized base stations to allow for radio resource scheduling and utilization.
A development kit, called the Weightless Ignition Pack, provides Weightless-P network connectivity out of the box. This includes a Weightless-P base station, end device modules, antennas, a full Weightless-P protocol stack for the base station, end device and host, as well as all necessary cabling. The pack will enable a Weightless-P IoT network to be deployed ‘out of the box’.
Conclusion
LPWAN networks are an increasingly popular approach for implementing the Internet of Things. Using sub-GHz radio bands and spread spectrum protocols for low power consumption in the node reduces costs by allowing the batteries to last dramatically longer. The same sub-GHz bands also allow for longer range, allowing thousands of nodes to be used across towns and cities with just a few base stations. The choice of LoRaWAN, SIGFOX or Weightless-P networks gives developers a range of options for implementation, from building a dedicated network to buying time on a commercial network with links into cloud analysis.
Disclaimer: The opinions, beliefs, and viewpoints expressed by the various authors and/or forum participants on this website do not necessarily reflect the opinions, beliefs, and viewpoints of DigiKey or official policies of DigiKey.



